Máy tách bằng khí nén kiểu ngang là máy tách ly tâm dạng bắt buộc trang bị với rô to phân loại gắn liền kiểu ngang và khí thứ cấp. Máy bao gồm bộ cấp liệu, máy nén cánh quạt, rô to phân cấp, v.v…
Thông số kỹ thuật| Model | WFJ-260 | WFJ-400 | WFJ-600 | WFJ-800 | WFJ-1000 | WFJ-1500 |
| Kích cỡ phân loại (μm) | 2-15 | 2-15 | 2-15 | 2-15 | 2-15 | 2-15 |
| Năng suất (kg/h) | 50-200 | 300-1000 | 500-1500 | 1000-3000 | 2000-6000 | 6000-8000 |
| Công suất động cơ (kw) | 3.0 | 5.5 | 7.5 | 11×3 | 15×3 | 15×6 |
| Lưu lượng khí hệ thống (m3/h) | 600 | 2100 | 5000 | 7500 | 9000 | 15000 |
| Lượng khí tiêu thụ (m3/phút/MPa) | 1.25/0.7 | 1 .8/0.7 | 2.5/0.7 | 4.5/0.7 | 6/0.7 | 10/0.7 |
Vật liệu được cấp thông qua bể chứa bên trên và được sáng nhờ khí cấp một. Các hạt được phân tán hoàn toàn và đi tới vùng phân loại. Hạt được phân loại bằng lực li tâm sinh bởi rô to phân cấp quay với tốc độ cao cũng như lực hướng tâm sinh bởi hiệu quả nhớt của dòng khí. Khi lực ly tâm tác động lên hạt lớn hơn lực hướng tâm, các hạt thô với kích cỡ lớn hơn đường kính phân loại sẽ bị cuốn theo thành buồng máy. Khí thứ cấp ngoài được nén bởi cánh quạt dẫn hướng theo dòng cuốn tiêu chuẩn được phân tách bởi hạt tinh khỏi hạt thô. Sau đó, hạt thô sẽ được xả ra từ cổng bên dưới và hạt tinh với kích cỡ nhỏ hơn đường kính phân loại sẽ đi vào cùng dòng khí vào máy tách xyclon và bộ thu. Khí đã làm sạch sẽ được xả khỏi quạt hút.
Máy tách bằng khí nén kiểu ngang phù hợp với nhiều máy nghiền bột dạng khô, như máy nghiền siêu mịn, máy nghiền kiểu hành tinh, máy nghiền bi, máy nghiền Raymon, máy nghiền rung, v.v… to tạo thành hệ thống tuần hoàn khép kín. Máy có hiệu suất phân loại cao và phân phối kích cỡ hạt nhỏ. Sản phẩm bột tinh chiếm 97% có kích cỡ nhỏ hơn 5μm. Được chế tạo bằng vật liệu không ăn mòn, rô to phân loại kiểu ngang có hiệu năng ổn định và tuổi thọ cao.
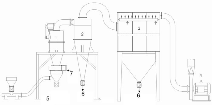
Biểu đồ của máy tách bằng khí nén kiểu ngang

1. Hệ thống máy tách bằng khí kiểu tua bin WFJ
2. Máy tách xyclon
3. Bộ lọc bụi
4. Quạt hút
5. Hạt thô
6. Sản phẩm cuối
7. Khí
Là nhà sản xuất và cung cấp máy tách bằng khí nén kiểu ngang tại Trung Quốc, Miyou Group cũng cung cấp phốt cơ khí kiểu ngang có khuấy đáy, bình phản ứng bằng thép không gỉ, bột nano cô ban, máy nghiền hạt có khuấy, v.v…