Hệ thống trộn và nghiền nhà máy SC thích hợp cho nghiền các nguyên liệu trong ngành công nghiệp sơn phủ, mực in, hóa chất nông nghiệp. Máy mang lại sự vận hành đơn giản, hiệu suất và đáng tin cậy. Đĩa phân tán thiết kế tối ưu giúp môi trường nghiền hoạt động nghiền hiệu quả, thu được sản phẩm có độ tinh mong muốn trong thời gian ngắn.
Thông số kỹ thuật| Mode | MYM15A | MYM20A | MYM30A | MYM48A | MYM60A |
| Dung tích buồng chứa(L) | 15 | 20 | 30 | 48 | 60 |
| Công suất động cơ(KW) | 11 | 18. 5 | 22 | 37 | 45 |
| Năng suất(kg/h) | 30-200 | 40-300 | 50-600 | 100-1000 | 150-1200 |
| Độ tinh (μm) | 2-20 | ||||
| Kiểu bơm | Bơm kiểu màng/Bơm bánh răng |
||||
Nhờ áp dụng công nghệ phân tách động, môi trường nghiền và bùn có thể được phân tách hiệu quả. Điều này giúp sản phẩm sử dụng được môi trường nghiền siêu mịn Φ0.5mm-Φ1.4mm), nên số lượng hạt có thể tăng hợp lý. Thiết bị phân tách thiết kế đặc biệt có tuổi thọ cao và hầu như không cần bảo trì.
Là phần công thức của công nghệ phốt cơ khí cho máy nghiền hạt và máy trộn cát, công ty có phốt cơ khí thiết kế tối ưu cho hệ thống trộn và nghiền, giúp máy có độ tin cậy cao và chống ăn mòn hoàn hảo. Sự ô nhiễm tới vật liệu nghiền có thể được loại bỏ nhờ áp dụng chất làm mát tương thích với vật liệu nghiền.
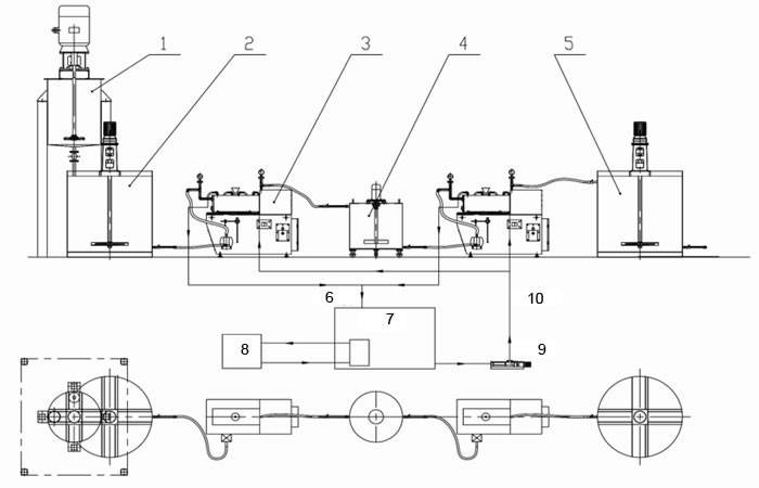
Biểu đồ

1. Buồng tiền phân tán
2. Buồng chứa nguyên liệu thô
3. Máy trộn cát
4. Buồng lọc
5. Buồng chứa sản phẩm cuối
6. Nước đã làm lạnh đi ra
7. Buồng chứa nước tuần hoàn
8. Máy làm lạnh
9. Bơm tuần hoàn
10. Nước đã làm lạnh đi vào
Công ty chúng tôi là nhà sản xuất hệ thống trộn và nghiền nhà máy SC nhiều kinh nghiệm tại Trung Quốc. Chúng tôi cũng cung cấp máy trộn cát kiểu ngang, bình phản ứng thép không gỉ, máy nghiền mịn bằng siêu âm, bơm sử dụng phốt cơ khí, v.v…
Sản phẩm liên quan
Máy trộn và máy nghiền | Thiết bị trộn và nghiền | Thiết bị đa chức năng | Thiết bị SC